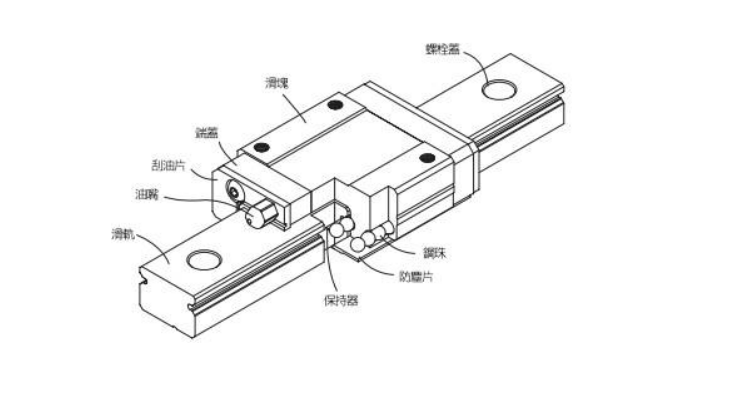
Features of G series linear slide

The EG series uses four rows of steel balls to bear the load design, so that it has the characteristics of high rigidity and high load, and at the same time has the characteristics of four directions and other loads, as well as automatic and self-aligning functions, which can absorb the assembly error of the installation surface and obtain high-precision demands. In addition, by reducing the combination height and shortening the length of the slider, it is very suitable for the use of high-speed, automated industrial machinery and small equipment with space requirements. The slider is equipped with a steel ball holder to prevent the steel ball from falling off. This design not only facilitates the installation of linear slides for customers, but also does not cause the steel ball to fall off when the slider is removed, and is interchangeable when the accuracy allows.
Standard length and maximum length of single slide rail
HIWIN has a standard length stock of slides to supply customer needs. If customers order non-standard length slides, the size of the end face distance E should not be greater than 1/2P to prevent the instability of the rear end of the slide assembly due to the large size of E, and reduce the accuracy of the linear slide
